摘要:说明书附图可以作为申请文件修改的依据,但在以说明书附图作为修改依据进行申请文件修改时,需要注意应当将原说明书和权利要求书文字记载部分和原说明书附图所能确定的内容,这两部分内容作为一个整体进行综合判断,使修改后的申请文件中的技术信息与原始申请文件记载的技术信息一致,以避免修改超出原说明书和权利要求书记载的范围。
我国专利法允许申请人对其专利申请文件进行修改,同时又对修改的内容进行了严格的限制。
专利法第33 条规定:申请人可以对其专利申请文件进行修改,但是,对发明和实用新型专利申请文件的修改不得超出原说明书和权利要求书记载的范围。
《专利审查指南(2010)》第二部分第八章第5.2.1.1节也对原说明书和权利要求书记载的范围进行了说明:原说明书和权利要求书记载的范围包括原说明书和权利要求书文字记载的内容和根据原说明书和权利要求书文字记载的内容以及说明书附图能直接地、毫无疑义地确定的内容。
因此,说明书附图所表示的内容,完全可以作为对申请文件进行修改的依据。然而实践中,对于涉及以说明书附图为依据对申请文件进行修改后的内容是否超范围的判定,成为了敏感和热点问题。
本文欲通过具体案例来阐述笔者对以说明书附图为依据修改申请文件时避免修改超范围的理解和思考,以兹共享。
一、案例信息
(1)案例1
涉案专利系中华人民共和国国家知识产权局(以下简称国家知识产权局)于2006年8月30日授权公告的名称为“后换档器”的发明专利,其申请日为1994年2月3日,优先权日为1993年2月3日,专利号为ZL02127848.2,专利权人为株式会社岛野。该涉案专利是株式会社岛野向国家知识产权局提出名称为“后换挡器支架”的发明专利申请(即原申请)的分案申请。原申请的优先权日为1993年2月3日,公开日为1994年12月7日,申请号为94102612.4。
在原申请的说明书中,第2页最后1行至第3页第1行记载有“第一连接结构和第二连接结构取基本上圆的螺栓孔的形状”;第4页倒数第1-2行记载有“一个紧邻该支架8一端的第一圆形螺栓孔8a和一个紧邻支架8另一端的第二圆形螺栓孔8b”;第5页第1、6、10、11、21行和第7页第2、5行记载有“螺栓孔8a”或“螺栓孔8b”;第7页第5-7行记载有“支架8上的螺栓孔8a和8b可以用其他各种形式的结构代替。原申请的说明书附图3、5中清晰显示第一和第二连接结构8a、8b为大致圆形孔。

据此,株式会社岛野在提交分案申请时进行了修改,具体涉及的主要修改内容之一是将权利要求1、3和6中涉及的“圆的螺栓孔”、“圆形螺栓孔”或“螺栓孔”概括修改为“圆形孔”。涉案专利修改后的权利要求1、3和6如下:
1、一种后换档器(100),包括:支架件(5);用于支撑具有导向轮(1)和张紧轮(2)的链条导向装置(3)的支撑件(4);用于连接所述支撑件(4)和所述支架件(5)的一对连接件(6,7);支架体(8),其包含第一连接结构(8a)、第二连接结构(8b)以及定位结构(8c),其中所述第一连接结构(8a)设在所述支架体(8)一端近旁、用于将所述支架件(5)可绕第一轴线(91)转动地连接到所述支架体(8)上,所述第二连接结构(8b)设在所述支架体(8)另一端近旁;以及安装在所述支架件(5)上的拉伸弹簧(12);其特征在于:所述支架体(8)由一大致L形板构成;所述支架体(8)的第二连接结构(8b)的形状为一大致圆形孔;所述支架体(8)具有形成在所述第一连接结构(8a)近旁的孔(8d),用于接纳所述拉伸弹簧(12)的一端,以将所述拉伸弹簧(12)连接至所述支架体(8)上;所述定位结构(8c)的形状为从所述板的表面延伸的凸台,所述凸台的位置邻近所述第二连接结构(8b)。
3、根据权利要求1所述的后换档器(100),其特征在于,所述第一连接结构的形式是一大致圆形孔(8a)。
6、根据权利要求1所述的后换档器(100),其特征在于,所述大致圆形孔(8b)设置成使一连接螺栓(16)穿过所述圆形孔而放置。
针对上述修改,宁波赛冠车业有限公司(以下简称赛冠公司)先后两次以“修改超范围,不符合专利法第三十三条的规定”的无效理由,向中华人民共和国国家知识产权局专利复审委员会(以下简称专利复审委员会)提出无效宣告请求。
专利复审委员会认为:圆形孔是“圆的螺栓孔”、“圆形螺栓孔”的上位概念,而且和“螺栓孔”的技术含义也不同。尽管附图中显示8a、8b的孔为圆形的,但附图的作用是使人能够直观地、形象地理解发明的技术方案,对技术方案进行解释,原说明书附图显示8a、8b是圆形的,应理解为是对“圆的螺栓孔”、“圆形螺栓孔”或“螺栓孔”在图片上的简要形状显示。不能因为附图显示的孔为圆形的就认定“圆形孔”和“圆的螺栓孔”、“圆形螺栓孔”或“螺栓孔”具有相同的技术含义。因此,将“圆的螺栓孔”、“圆形螺栓孔”或“螺栓孔”概括修改为圆形孔,超出了原说明书和权利要求书记载的范围,不符合专利法第三十三条的规定。
专利复审委员会宣告涉案专利权全部无效。株式会社岛野不服该无效决定,向北京市第一中级人民法院提起行政诉讼。北京市第一中级人民法院一审维持专利复审委员会决定。株式会社岛野不服一审判决,向北京市高级人民法院提起上诉。北京市高级人民法院二审维持北京市第一中级人民法院一审判决、专利复审委员会决定。株式会社岛野不服二审判决,向中华人民共和国最高人民法院申请再审。
中华人民共和国最高人民法院组成合议庭进行公开开庭审理。再审过程中,株式会社岛野认为原申请的附图3、5中已清晰显示第一和第二连接结构8a、8b为大致圆形孔,说明书第7页第5-8行中也已提及螺栓孔可以用其他各种形式的结构代替,即8a、8b并不仅限于螺栓孔。螺栓孔是指“用于螺栓穿过的孔”,而不是“带有螺纹的孔”,在涉案专利中,“圆形孔”和“圆形螺栓孔”在结构和功能上没有任何差异。因此,将“圆的螺栓孔”、“圆形螺栓孔”或“螺栓孔”概括修改为圆形孔,未超出原说明书和权利要求书记载的范围,符合专利法第三十三条的规定。
合议庭认为:原申请文本中,8a和8b实质上由两个技术特征共同限定:一是圆形孔;二是供螺栓穿过。株式会社岛野在专利权利要求1、3中将“圆的螺栓孔”、“圆形螺栓孔”以及“螺栓孔”概括修改为“圆形孔”,删除了“供螺栓穿过”的技术特征,在专利权利要求1、3的其他部分也未显示出8a和8b仅能供螺栓穿过的技术信息。实际上,在机械领域,对于圆形孔而言,其也可以供销钉等其它连接部件穿过。对本领域普通技术人员而言,“圆形孔”与“圆的螺栓孔”具有不同的技术含义。株式会社岛野的上述修改并不属于从原申请文本中能够确定的内容,因此,涉案专利权利要求1、3的修改超出了原说明书和权利要求书记载的范围,不符合专利法第三十三条的规定。权利要求6通过附加技术特征明确将8b限定为使连接螺栓穿过的圆形孔。这种修改没有导致本领域普通技术人员就8b看到的技术信息与原申请文本公开的技术信息有所不同,因此没有超出原说明书和权利要求书记载的范围,符合专利法第三十三条的规定。
(2)案例2
涉案专利系申请日为 2003 年 3 月 14 日、发明名称为“一种,精密,进给车削刀架”、申请号为 03111166.1 的发明专利申请,申请人为大连经济技术开发区鑫光数控机械有限公司。
在实质审查阶段,国家知识产权局实质审查部门对提交的申请文件作出驳回决定。驳回决定所针对的独立权利要求1如下:
“1、一种精密进给车削刀架,其特征在于该车削刀架由:
一壳体(1);
一置于上述壳体(1)内的励磁线圈(2);
一置于上述励磁线圈(2)内的磁致伸缩棒(3);
一置于上述壳体(1)端部,并且一端与壳体(1)固接、一侧面与上述磁致伸缩棒(3)活性接触的弹簧板(4);
一置于上述弹簧板(4)另一侧的刀座(6);构成。”
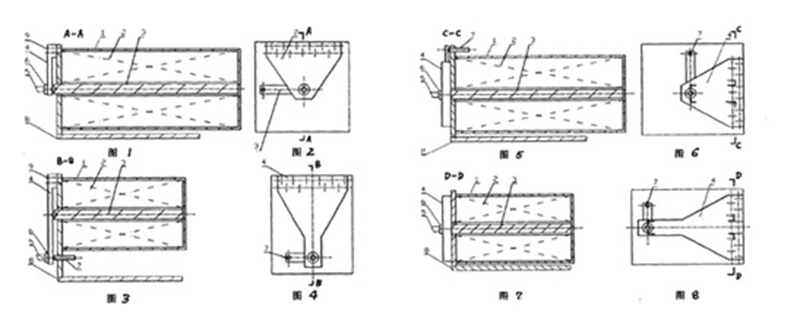
针对上述驳回决定,申请人(后续称为复审请求人)向专利复审委员会提出复审请求,并对申请文件进行了修改。复审请求人对申请文件进行修改时,主要是以说明书附图为修改依据进行的修改。涉案专利原申请文件中公开的说明书附图信息如下:

复审请求人修改后的独立权利要求1 如下:
“1、一种精密进给车削刀架,其特征在于该车削刀架由下述结构构成:壳体(1)、励磁线圈(2)、磁致伸缩棒(3)、弹簧板(4)、刀座(6);其中:
励磁线圈(2)置于上述壳体(1)内,磁致伸缩棒(3) 置于励磁线圈(2)内;
所述弹簧板(4)的形状为三角形,弹簧板(4)置于上述壳体(1)的端部,并且其大头端与壳体(1)固接,其另一端悬空且其一侧面与上述磁致伸缩棒(3)构成活性接触;
刀座(6)置于上述弹簧板(4)远离磁致伸缩棒(3) 的另一侧。”
专利复审委员会依法成立合议组,对本案进行审理。合议组认为:复审请求人对申请文件的修改中,主要是在权利要求1 中增加了下述技术特征“所述弹簧板的形状为三角形”、“并且其大头端与壳体固接,其另一端悬空”、“刀座置于上述弹簧板远离磁致伸缩棒的另一侧”。并认为,在原说明书第2 页第5 段中明确记载了“(弹簧板)其形状可以等厚或不等厚的三角形”,因此在权利要求中将弹簧板的形状进一步限定为“三角形”,符合专利法第33 条的规定。在原说明书第2 页第6 段中,描述了相对于弹簧板4 的固定端9 和磁致伸缩棒3 的顶点,当刀座6 和车刀5 在弹簧板4 上处于不同位置时,车刀5 的位移量和磁致伸缩棒3 的伸缩变形量之间的关系;再参考附图,说明书附图的图1 和2清楚地示出了弹簧板4 宽度较大的一端固定在壳体1 上,而弹簧板4宽度较小的中部与磁致伸缩棒3 的顶点活性接触,弹簧板4 宽度最小的另一端自由悬空,刀座6 位于与磁致伸缩棒3 相对的弹簧板4 的另一侧;在图5-8 中,只是将弹簧板4 与壳体1 的固接位置进行了变化,然而弹簧板4 的杠杆式安装结构并没有改变,由此,结合说明书中上述文字部分和说明书附图(尤其是附图1-4),可以直接、毫无疑义地得出弹簧板的安装结构为:弹簧板的固定端(即图中的大头端)与壳体固接,另一端为自由端(悬空),磁致伸缩棒的顶点与弹簧板的一侧面活性接触构成支撑端,而刀座则位于与磁致伸缩棒相对的弹簧板的另一侧。因此,复审请求人对申请文件所进行的修改,可以根据原说明书文字记载的内容以及说明书附图直接、毫无疑义地确定,没有超出原说明书和权利要求书记载的范围,因而该修改文本符合专利法第33 条的规定。
二、案例点评
根据上述案例1和案例2,在对申请文件进行修改时,均将说明书附图作为修改依据,对权利要求进行了修改,但是在实践中对于修改超范围的判断,却是两种截然不同的判定结果。
笔者认为,案例1和案例2之所以会有两种截然不同的判定结果,具体原因如下:
说明书附图是说明书的一个组成部分,必然和说明书文字部分记载的特征有关联,并不是孤立存在的。在以说明书附图为依据对申请文件进行修改时,应将说明书文字部分和说明书附图结合起来作为一个整体进行理解,并不能单独将说明书附图中直观看到的特征转化为文字,而不关注说明书文字部分记载的内容。单独依据说明书附图直观显现的特征对申请文件进行修改,很容易导致修改后的申请文件中记载的技术信息与原始申请文件记载的技术信息不一致,进而导致修改超范围。
案例1中,说明书附图部分虽然可以清楚的看到8a、8b的形状为大致圆形,但是株式会社岛野却忽略了说明书文字部分的记载信息。说明书文字部分记载 8a和8b的形状不仅要满足圆形孔形状,还要满足能够供螺栓穿过的特征。株式会社岛野在专利权利要求1、3中将“圆的螺栓孔”、“圆形螺栓孔”以及“螺栓孔”概括修改为“圆形孔”,删除了“供螺栓穿过”的技术特征,导致修改后的权利要求中记载的技术信息与原始申请文件记载的技术信息不一致,故最终会得到修改超出原说明书和权利要求书记载的范围的判定结果。而权利要求6通过附加技术特征明确将8b限定为使连接螺栓穿过的圆形孔,修改后的权利要求中记载的技术信息与原始申请文件记载的技术信息一致,故最终会得到修改未超出原说明书和权利要求书记载的范围的判定结果。
此外,说明书附图作为说明书的一个重要组成部分,对说明书文字部分具有辅助理解作用。在以说明书附图为依据对申请文件进行修改时,可以将说明书附图作为辅助工具,对说明书中已记载的技术内容进行细化或改变技术特征描述,确保修改后的申请文件记载的技术信息与原始申请文件记载的技术信息一致情况下完善保护范围,避免修改超范围。
案例2的说明书文字部分记载弹簧板形状可以是等厚或不等厚的三角形,并通过不同实施例将车架的结构总体概括为杠杆式安装结构。说明书附图中包括车架的纵断面和端面结构视图,能够清楚的反映出弹簧板的杠杆式安装结构为:弹簧板的固定端(即图中的大头端)与壳体固接,另一端为自由端(悬空),磁致伸缩棒的顶点与弹簧板的一侧面活性接触构成支撑端,而刀座则位于与磁致伸缩棒相对的弹簧板的另一侧。故案例2中申请人对原权利要求中涉及的技术特征进行细化并改变表达方式,增加技术特征“所述弹簧板的形状为三角形”、“并且其大头端与壳体固接,其另一端悬空”、“刀座置于上述弹簧板远离磁致伸缩棒的另一侧”后,只是对申请文件中原始记载的信息进行了修改完善,修改后的权利要求中记载的技术信息与原始申请文件记载的技术信息一致,并充分阐述了修改不超范围的依据,故最终会得到修改未超出原说明书和权利要求书记载的范围的判定结果。
综上,在以说明书附图作为依据,对申请文件进行修改时,应将原说明书和权利要求书文字记载部分和原说明书附图所能确定的内容,这两部分内容作为一个整体进行综合判断,并可以将说明书附图作为辅助工具,对说明书中已记载的技术内容进行细化或改变技术特征描述,但是需要注意避免修改后的申请文件中记载的技术信息与原始申请文件记载的技术信息不一致,以避免修改超出原说明书和权利要求书记载的范围。