摘要:当专利文献中采用通用技术术语描述技术特征时,如何理解和解读该技术特征成为判断该专利有效性的关键。对于采用通用技术术语描述的技术特征,其解释应当包含该通用技术术语的定义本身包含的结构、属性。对于采用通用技术术语描述的技术特征,虽然该术语本身为本领域技术人员熟知,但也不意味着该技术特征在专利的特定技术方案中的应用属于公知常识。对于首次提出采用公知零件解决特定技术问题的专利技术,采用通用技术术语来描述该公知零件,有利于专利权人在一定程度上控制公开内容,保留技术诀窍。
在专利实质审查、无效宣告请求审查等涉及专利有效性的判断时,当事人都不可避免地要对说明书和权利要求的技术方案中各技术特征进行理解和解读。而且,这种理解和解读往往成为决定专利有效性的关键所在。
实践中,描述某技术特征所用词语往往是多样性的,并且,虽然我国专利法规也允许采用自定义的词语,但更常见的情况是采用本领域的通用技术术语。正如《专利审查指南》(2010版)第二部分第二章第3.2.2节所规定的,“权利要求的保护范围应当根据其所用词语的词义来理解。一般情况下,权利要求中的用词应当理解为相关技术领域通常具有的含义”。
那么,如果专利的发明点利用了一个本领域的公知零部件,并且说明书和权利要求书采用本领域通用技术术语来描述相应技术特征,在对该专利的有效性判断时,特别是涉及说明书公开程度和专利创造性判断时,该如何考量该通用技术术语呢?本文欲通过一典型案例来阐述此问题,以兹共享。
一、案件介绍
本案是2016年度专利复审无效十大案件之一的名称为“新型摄像导轨”的实用新型专利(以下简称“本专利”)无效宣告请求案。
(一)案件的基本信息
无效宣告请求日:2016年3月2日
无效宣告请求审查决定号:29889
发明名称:新型摄像导轨
专利号:201320578735.3
申请日:2014年11月21日
专利权人:中山大山摄影器材有限公司
无效宣告请求人:惠州市拉图摄影器材有限公司
无效理由:本专利不符合专利法第22条第3款,第26条第3款和第4款
无效证据1:CN202522832U
审查决定:维持本专利有效
(二)本专利

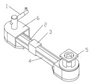
本专利的图1 本专利的图3
本专利的背景技术记载:摄像机在某些情况下需要平稳的移动以进行拍摄工作,这就需要使用到摄像滑轨装置。在使用时,将摄像机安装在带有安装云台的摄像滑轨的滑块上,利用滑块在滑轨上滑动来带动摄像机在预定轨道上滑动。然而,现有技术中摄像机在轨道上滑行时存在滞涩、不能平稳滑行,从而导致拍摄画面跳动、不稳定的问题。
本专利的新型摄像导轨(独立权利要求1),包括有用于固定摄像设备的带安装云台的滑块(10)、两根相互平行的导杆(20)以及两个导杆固定座(30),所述的两导杆的两端分别固定在两个导杆固定座上,所述的滑块通过设在其下方的滑行结构夹持在两导杆上并在两导杆上滑行,其特征在于,在所述的两个导杆固定座中分别设有一个旋转轴(50),在所述的旋转轴中设有同步轮(60),在所述的两导杆之间设有与导杆平行的同步带(70),所述同步带的一端固定在滑块的一侧,其另一端依次绕过两旋转轴上的同步轮后固定在滑块的另一侧;其中一个旋转轴的上端头部伸出导杆固定座的上方并固定连接有一个飞轮(80)。
(三)证据1

证据1的图1
证据1的背景技术提出的技术问题主要是:现有手动操作推动滑块来实现相机移动所带来的精度不高、不方便长距离推动、滑动不均匀、长时间操作比较累的缺陷,将摄像滑轨装置改进为摇动或电机推动。
证据1的摄像导轨中,摇手1通过螺丝固定到滑轨2一端的同步轮6内同步轮的转动轴上,带动所述同步轮转动,从而带动所述同步带4滑动,进而带动所述滑块3在所述滑轨2上滑动。所述滑轨2另一端的同步轮盒6上设置有电机架5;所述电机架5内设置有电机,所述电机带动所述同步轮转动,从而带动所述同步带4滑动,进而带动所述滑块3在所述滑轨2上滑动。证据1的摇手与电机可单独使用,也可结合使用。
(四)争议焦点
双方争议焦点在于对于“飞轮”这一术语的理解。
请求人认为:本专利权利要求1没有限定飞轮起到惯性储能以及缓冲的作用,从其外形以及本专利说明书的记载可以看出,飞轮也有摇轮的作用,其与摇轮在结构上是一样,证据1公开了摇手,其与摇轮作用的飞轮是一样的。
专利权人认为,飞轮在本领域是专业术语,飞轮和摇轮是两个完全不同的机械零件,具有不同的含义,技术效果也
完全不同,证据1里面的摇手与飞轮根本就不是一个部件。
(五)复审委决定的核心内容
1.关于说明书是否公开充分
请求人主张:本专利说明书因没有给出飞轮的直径大小和质量等相关参数,而公开不充分。
合议组认为:首先,“飞轮”是通用技术术语,其所表达的是一种转动惯量很大的盘形零件,其作用如同一个能量存储器,即飞轮这个部件及其作用对于本领域技术人员而言是清楚明了的,且与本专利中对其作用的描述一致。其次,本专利所要解决的是现有摄像滑轨中因采用滑块嵌套在滑轨的凹槽内配合滑行的方式所带来的滑行时会出现滞涩,不能实现平稳滑行,导致摄像机或照相机拍摄画面出现跳动、不稳定的问题。针对上述问题,本专利利用同步带将滑块与设在两端的旋转轴、同步轮联动起来,当滑块移动时,旋转轴和同步轮能够同步转动,再利用安装在其中一个旋转轴上的飞轮来平缓、抵消滑块在导杆上滑行过程中产生的晃动,使得安装在滑块云台上的摄像设备在滑行时平稳顺畅,以此保证拍摄画质的质量和效果。基于上述构思,本专利说明书第[0022]-[0025]段详细描述了飞轮设置的位置、工作原理和所带来的有益效果。因此,根据本专利说明书的上述记载,本领域技术人员能够清楚、明了,为了解决现有技术中存在的问题,根据本专利说明书所描述的具体结构,针对具体产品的规格,为了要产生其预期的惯性效果时,应该选择多大质量的飞轮,并根据相应的质量要求选择相应的材料、飞轮的厚度、直径大小以及中间是否镂空等,这些参数的选择都是本领域技术人员能够根据实际需要而清楚明了的做出的,只要能够解决本专利说明书中提及的保证摄像机或照相机在摄像导轨上平稳滑行的技术问题即可。
2. 关于独立权利要求1的创造性
合议组认为,本专利权利要求1与证据1相比,重要区别之一在于:本专利在其中一个旋转轴的上端头部伸出导杆固定座的上方固定连接有一个飞轮。
合议组认为:
首先,“飞轮”是通用技术术语,其所表达的是一种转动惯量很大的盘形零件,其作用如同一个能量存储器。因此,对于本领域技术人员而言,“飞轮”这个部件,表示的就是惯性势能储能部件,其质量很大,用于产生很大的惯量。
其次,本专利是利用飞轮转动惯性大的物理性质来配合同步带、同步轮共同作用平缓、抵消滑块在导杆上滑行产生的晃动,以起到使得安装在其云台上的摄像设备在滑行时平稳顺畅,保证拍摄画质的作用。而证据1设置摇手的目的在于通过摇手转动实现同步轮转动,从而带动同步带4滑动,进而带动滑块3在滑轨上滑动。证据1改进的目的就在于摒弃手推而采用摇手摇动或电机驱动,摇手属于驱动部件,并且在保证其强度的情况下,对其本身的质量并无要求,而且尽管通过摇动摇手带动滑块滑动相较于手动推行滑块滑动较少了滑动的不均匀性,但由于还是手摇驱动,滑块滑行过程中的不稳定性、不流畅性的问题还是存在。
再次,尽管飞轮由于其轮状形状也可以同时起到摇轮即摇手的作用,但是该作用并不是本专利的飞轮有且仅有的作用,也不属于本领域技术人员对该部件的惯常认知。最重要的是,该作用不是本专利为了改进现有技术缺陷而采用飞轮这个部件的目的。本专利通过设置具有大质量惯性的盘形飞轮,使得飞轮在转动过程中蓄能并依靠转动的惯性将滑块在滑行中停顿、速度变化产生的波动减缓抵消,甚至当外力停止推动滑块后,飞轮80能够将其能量释放出来使滑块在飞轮的带动下依靠惯性滑行一定距离。
最后,换个角度讲,本领域技术人员在了解了证据1的技术方案之后,由于摇手是操作部件,通常来讲,按照惯常技术思维,应将其制造成质量更轻,通过减少自重从而更加便于操作的部件,而这正与本专利的飞轮具有大质量惯性的设计思路背道而驰。
二、案例点评
通过复审委合议组在该典型案例审查决定书中的分析,笔者认为可以从中获得这样的经验:
1. 对于采用通用技术术语描述的技术特征,其解释应当包含该通用技术术语本身包含的结构、属性。
合议组在审查时,不论是在评判说明书公开是否充分,还是在评判本专利创造性时,均是基于本领域通用技术术语“飞轮”所包含的结构和物理属性,即它是质量大从而转动惯量很大的盘形零件,是惯性势能储能部件。甚至,合议组从通用技术术语“飞轮”本身包含的“质量大”角度出发,将其与证据1进行对比分析,并分析得出证据1应采用质量轻的部件,这与本专利设计思路背道而驰。
由此可见,尽管说明书中并没有对“飞轮”的结构、质量属性等展开详细叙述,独立权利要求1中也没有直接文字限定飞轮是“质量大、盘形”,但在解读本专利技术方案时是可以将该通用技术术语包含的“质量大、盘形”解释纳入保护范围,以明确其与证据1的区别。这样的解释是合理的、客观的、公正的。
2. 对于采用通用技术术语描述的技术特征,虽然该术语本身为本领域技术人员熟知,但也并不意味着该技术特征在专利的特定技术方案中的应用属于公知常识。
在本专利中,虽然“飞轮”为本领域技术人员熟知,但并无证据表明在摄像导轨中应用飞轮来解决滑行不平稳问题是本领域公知的。
相反地,飞轮不仅具有特定含义(质量大从而转动惯量很大的盘形零件)和作用(储能作用),而且,还因其在本专利摄像滑轨中的应用获得了使摄像设备滑行平稳顺畅的有益技术效果,从而使本专利被认定为具有创造性。
3. 对于首次提出采用某公知零件解决特定技术问题的专利技术,采用通用技术术语来描述该公知零件,有利于专利权人在一定程度上控制公开内容,保留技术诀窍(knowhow)。
本专利首次提出采用飞轮解决摄像机滑行不平稳的问题,说明书公开了采用飞轮的摄像导轨结构,这样的公开程度已经向本领域技术人员公开充分。至于,飞轮的质量以及因质量要求选择的材料、厚度、直径等具体参数,尽管在技术实施时这些参数可能是技术诀窍,但其属于本领域技术人员具体实施时能根据需要选择的。
退一步考虑,假设本专利之前的现有技术已经存在利用飞轮使摄像机滑行平稳的技术,本专利要通过优化飞轮的构造来进一步优化平稳效果,这种情况下,如何选择飞轮的质量以及因质量要求选择的材料、厚度、直径等具体参数则成为必须充分公开的内容了。
本专利根据现有技术的状况,采用通用技术术语描述技术特征,合理控制了说明书的公开程度,既满足了专利法对说明书公开充分的要求,不违背专利的宗旨“以公开换保护”,不影响本专利的有效性,又给竞争对手模仿抄袭设置了适当的障碍,也为专利权人针对未来改进方案进行专利布局预留了空间,可谓是一举多得的好决策。