针对权利要求书中自行创设的技术术语,专利从业人员应依据行业标准或规范来给出相应的准确含义。如果因专利的创新性而行业标准或规范尚未涉及该技术术语,则专利从业人员应在说明书或权利要求书中按照其功能、技术方案和效果来给出定义。如果自创的技术术语在申请文件中未给出充分的定义或解释,还会带来不符合中国专利法第26条第3款规定的专利公开不充分的问题,且在专利申请阶段无法通过修改来克服,会带来不利的后果。
在专利申请文件中,为满足描述发明创造的技术方案的客观需要,在权利要求书中可能会出现由申请人自行创设的技术术语,那么在专利的申请、无效及诉讼阶段,如何确定该自行创设的技术术语的含义,从下文中最高院的典型判例中,专利从业人员将从中获得启示。
判例简述
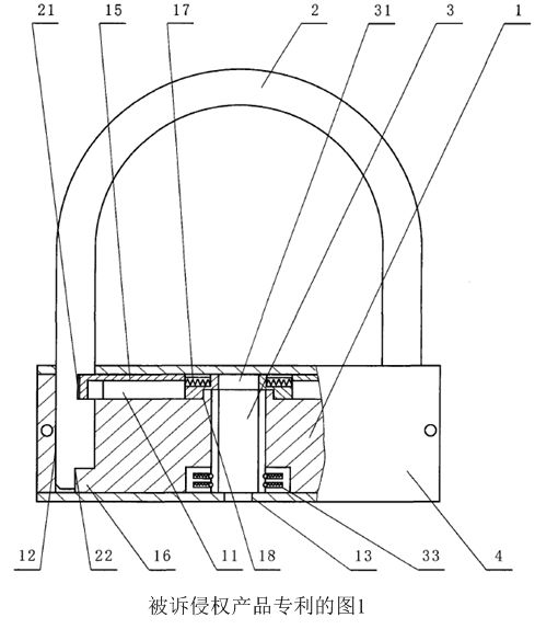
在再审申请人上海摩的露可锁具制造厂(下称“露可厂”)与被申请人上海固坚锁业有限公司(下称“固坚公司”)有关侵害实用新型专利权纠纷案(参见参考文献《最高人民法院知识产权审判案例指导(第七辑)》)中,固坚公司系名称为“一种空转锁的装置”的实用新型专利(申请号200820155495.5)(下称“本案专利”)的独占被许可人。固坚公司以露可厂侵害本案专利权为由,提起诉讼。
本案专利共包括7项权利要求,其中,独立权利要求1为:“一种空转锁的装置:包含钥匙(1)、锁芯(4)、锁体(8),其特征是,所述锁芯(4)的一端供钥匙(1)插入,另一端设有旋转推进器(5),伸缩联动器(6)一端与旋转推进器(5)相邻,另一端设有伸缩杆,锁体(8)一端或锁体(8)外圆设有供伸缩联动器(6)向外伸出的通道(11),锁体(8)的外圆与外壳(2)的内圆之间装有阻尼弹簧(9)和定位钢球(10)或阻尼弹片(12)和定位凸台(13)。”;从属权利要求6为:“根据权利要求1所述的一种空转锁的装置,其特征是,所述旋转推进器(5)设有凸轮轴,伸缩联动器(6)为圆柱形或多边形柱体。”。
上海市一中院一审认为,被诉侵权产品是一种空转锁,在该空转锁中确实存在着与“旋转推进器”配合的部件,而且这一部件也有其伸缩的运行空间,故该空转锁中包含了“伸缩杆”以及“供伸缩联动器向外伸出的通道”,因此,被诉侵权产品的技术特征与本案专利的必要技术特征相同。但由于在本案专利申请日之前,露可厂实际制造、销售了相同的车锁,故其有权在原有范围内继续制造该车锁。由此,上海市一中院判决如下:1. 驳回固坚公司的全部诉讼请求; 2. 案件受理费人民币2,377元由固坚公司负担。
固坚公司不服判决,上诉至上海市高院。上海市高院二审认为,被诉侵权产品的技术特征落入本案专利的权利保护范围,且露可厂无法提供充分的证据证明其享有先用权。上海市高院判决如下:1. 撤销上海市一中院的民事判决;2. 露可厂立即停止侵害固坚公司的本案专利;3. 露可厂赔偿固坚公司经济损失及合理费用人民币3.5万元;4. 固坚公司的其余诉讼请求不予支持。
露可厂不服判决,上诉至最高院。最高院认为,被诉侵权产品不具有本案专利权利要求1和权利要求6中的“伸缩联动器”、“伸缩联动器一端设置的伸缩杆”以及“供伸缩联动器向外伸出的通道”,未落入本案专利权的保护范围。一审判决以“车锁中确实存在着与旋转推进器配合的部件,而且这一部件也有其伸缩的运行空间”为由,未能从整体上理解伸缩联动器在本案专利技术方案中的含义,以致错误认定被诉侵权产品落入本案专利权的保护范围。二审判决未能纠正一审判决,认定事实、适用法律亦有错误,最高院予以纠正。此外,鉴于被诉侵权产品未落入本案专利权的保护范围,故对于露可厂有关其享有先用权的主张最高院不再进行评述。由此,最高院判决如下:1. 撤销上海市高院的二审判决和上海市一中院的一审判决;2. 驳回固坚公司的诉讼请求。该判决为终审判决。
判例点评
本案的争议焦点在于,判断被诉侵权产品是否落入本案专利权的保护范围内。依据中国专利法第59条规定:“发明或者实用新型专利权的保护范围以其权利要求的内容为准,说明书及附图可以用于解释权利要求的内容”,然而,由于本案的权利要求1中的“伸缩联动器”并非在申请日前本领域公知的技术术语而是由申请人自行创设的技术术语,因此,如何确定该自创术语的含义成为关键所在。
依据《最高人民法院关于审理侵犯专利权纠纷案件应用法律若干问题的解释》(下称“法释”) 第三条规定:“人民法院对于权利要求,可以运用说明书及附图、权利要求书中的相关权利要求、专利审查档案进行解释。说明书对权利要求用语有特别界定的,从其特别界定。以上述方法仍不能明确权利要求含义的,可以结合工具书、教科书等公知文献以及本领域普通技术人员的通常理解进行解释”。换言之,由于这类自创的技术术语的含义不为本领域技术人员所熟知,因此,在确定该类自创的技术术语的含义时,如果权利要求书和说明书已对其进行了准确、清楚的限定,则一般可依据该限定来确定其含义;如果权利要求书和说明书未进行限定,则应结合说明书及附图中记载的有关背景技术、所解决的技术问题、具体实施例、所取得的预料不到的技术效果等方面,确定其在本案专利中的含义。
具体来说,在本案专利中,专利申请人在权利要求书与说明书中均没有对伸缩联动器进行定义或者解释,因此,需要综合考虑说明书、附图中记载的与该技术术语相关的技术内容来确定其含义。
1. 本案专利既不涉及对普通锁中的锁舌或者锁栓本身进行改进,也不涉及以伸缩联动器直接替代锁舌或者锁栓的方式,对普通锁进行改造。其次,伸缩联动器是设置在旋转推进器与锁舌或者锁栓之间,用以推动锁舌或者锁栓运动的中间部件。伸缩联动器与锁舌或者锁栓各自独立,并非同一部件;而且,本案专利中也没有记载以伸缩联动器直接替代锁舌或者锁栓,由伸缩联动器本身直接起闭锁作用的技术内容。再次,根据露可厂提供的QB/T3835-1999标准的相关记载“锁舌bolt是锁具中直接起闭锁作用的部件”以及“锁舌拨动件follower是直接起拨动锁舌作用的零件”,由于伸缩联动器是用于推动锁舌或者锁栓运动的部件,伸缩联动器本身不能直接起到闭锁作用。因此,伸缩联动器不符合上述标准中有关“锁舌”的定义,其实质上属于标准中的“锁舌拨动件”。


2. 在明确了上述自创术语的含义的基础上,需要确定被诉侵权产品是否落入本案专利权的保护范围。首先,被诉侵权产品中的锁舌直接起闭锁作用,而伸缩联动器用于推动锁舌或者锁栓运动,其本身不能起闭锁作用。其次,被诉侵权产品中的锁舌是由旋转推进器直接推动,而本案专利中旋转推进器与锁舌或者锁栓之间设置有伸缩联动器,通过伸缩联动器推动锁舌或者锁栓。再次,在空转防盗时,被诉侵权产品由于锁舌通道随锁体转动从而实现空转防盗功能,而本案专利则是由于旋转推进器无法推动伸缩联动器从而实现空转防盗的功能。因此,被诉侵权产品中的锁舌与伸缩联动器的工作原理、功能、效果均不相同,被诉侵权产品既不具备本案专利权利要求1和权利要求6中的伸缩联动器,也不具备伸缩联动器一端设置的伸缩杆。综上所述,被诉侵权产品未落入本案专利权的保护范围。
判例启示
在上述分析的判例中,由于自创的技术术语在权利要求和说明书中均未给出定义或解释,因此应放到具体实施例中来确定其含义,从而该自创术语的含义必然相对地具体和下位,无法以权利要求书中相对上位的含义来解释,有时甚至会无法覆盖或偏离发明人所设想的技术方案,从而不利于对发明人的专利的保护。
专利代理人在交底书的基础上撰写专利文件或者翻译、校对涉外专利申请文件时,应留意相对陌生的可能涉及自行创设的术语,并依据行业标准或规范来给出相应的准确含义。如果因该交底书的创新性而行业标准或规范尚未涉及该术语,则专利代理人应在说明书或权利要求书中按照其功能、技术方案和效果来给出定义,并且该定义应覆盖所有实施例且进行适当、合理的上位,以便更好地保护发明人的利益。
此外,如果自创的技术术语在申请文件中未给出充分的定义或解释,还会带来专利公开不充分的问题。根据中国专利法第26条第3款规定,说明书应当对发明或者实用新型作出清楚、完整的说明,以所属技术领域的技术人员能够实现为准。如果因为对自创术语的解释不充分而导致专利的技术方案公开不充分,那么在专利申请阶段无法通过修改来克服,会带来不利的后果。因此,需要在提交申请文件之前与发明人充分沟通,通过增加解释性说明、增加实施例或增加中位概括等方式来完善申请文件。此外,在无效和诉讼阶段,授权专利可能因公开不充分而面临被宣告无效的风险,从而导致授权专利的专利权的不稳定。
有鉴于此,专利代理人在处理专利申请文件时,更应以谨慎的态度来对待申请文件中可能出现的自创术语,在与发明人良好沟通的基础上更专业地完善专利申请文件,从而更好地保护发明人的利益。